使用oms查询登录日志

1.操作场景

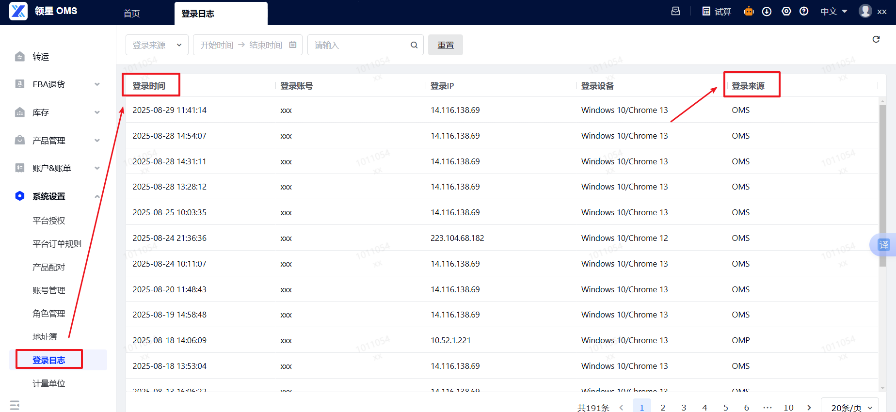
定义:登录日志就是记录用户登录OMS系统时的相关信息的审计日志,其中包括登录时间、登录账号、登录IP、登录设备和登录来源。
作用:它能用于行为追踪和系统监控,方便管理员查看用户的登录历史、排查问题或进行安全分析。

2.操作指引

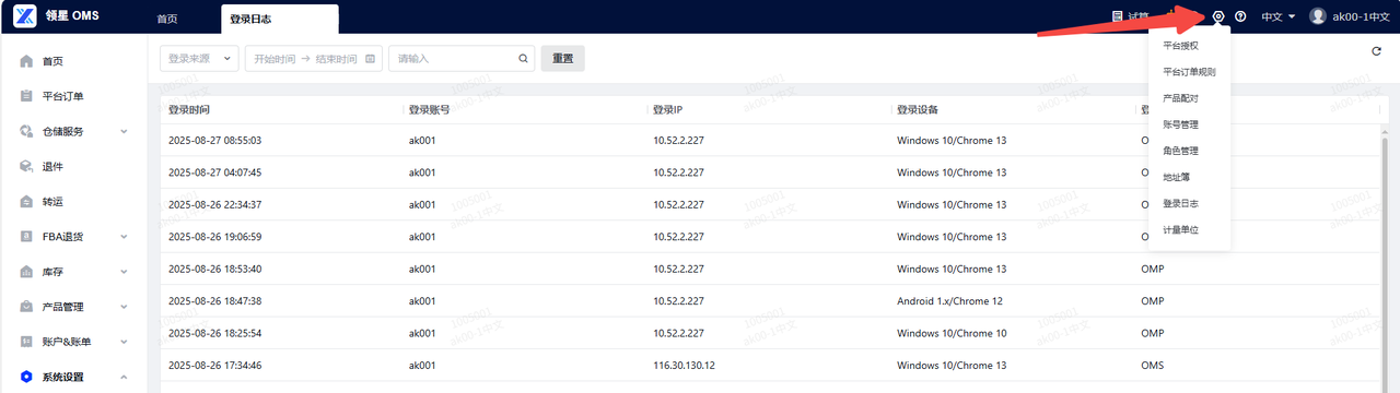
(1)进入oms系统:登录您的oms,导航至系统设置菜单或者右上角的设置按钮。
(2)点击登录日志:进入登录日志页表即可查询oms系统的登录记录

3.补充说明

(1)操作行为追溯:依据登录时间,梳理业务操作时序,若在关键业务节点(如订单处理、库存调整时段)有异常登录,可以核对系统内业务数据变动,确保操作合规且数据准确。
(2)环境核查:结合登录来源(omp、oms),确认操作场景是否匹配。

4.常见问题

Q1:我怎么知道我的账号是在OMS登录的还是从OMP跳转的?并且是什么日期登录的?
答案:可以在OMS-系统设置-登录日志,查询您账号的登录来源和日期
2025-09-28
0 0