仓库完成TEMU认证仓对接之后,客户如何切换为合作仓模式发货

1.入驻合作仓对接

半托管商家可以通过后台进行合作对接仓的入驻操作,界面路径:合作对接仓-仓库绑定
  • 支持一键授权的服务商:填写对合作仓时维护的服务商名称,点击获取授权可以自动跳转到OMS的登录界面,输入账号密码登录之后即可授权成功
  • 不支持一键授权的服务商:如果填写服务商名称后,弹出如下图的信息,需要手动填写授权信息
货主ID:客户代码授权码:OMS右上角API信息-APP Secret授权key:OMS右上角API信息-APP key

2.合作对接仓货品建联

半托管商家入驻合作对接仓完成后,需要将存放在合作对接仓的货品进行建联

(1)自动匹配货品

平台将优先使用您在创建商品时维护的 SKU 货号来匹配OMS里的产品SKU,若 SKU 货号与OMS里的SKU一致,则无需您手动输 入。若不一致导致匹配失败,您仍然可以进行手动输入SKU完成绑定。(SKU 货品维护路径:商品管理 - 商品列表 - 操作 - 编辑 - 维护货号)

(2)手动匹配货品

在【合作对接仓 - 商品绑定】根据需要选择【绑定全部商品】或【绑定部分商品】。

(3)选择服务商

一次仅支持一个服务商。如果只有一个已授权服务商,则会自动选择该服务商

(4)点击确认匹配结果,查看商货匹配结果

(5)绑定完成后可点击查看详情

若有绑定/切换失败的,请重新对这部分货品操作绑定或模式切换

3.切换发货模式

若有发货模式切换失败或需要把原来设定的【卖家自发货】模式修改为【合作对接仓发货】模式,请在已绑定商品列表的发货模式进行切换。

4.可以设置选择尾程模式

服务商物流:使用仓库渠道打单平台物流:使用TEMU平台面单发货

5.对接完成之后,在Temu后台【合作仓对接管理-合作对接仓出库单】中查看使用合作仓发货的单据

未下单成功或异常订单,请在Temu后台【合作仓对接管理-合作对接仓订单异常处理】中查看并重新处理订单

6.如何在OMS里查看合作仓订单

合作仓订单直接推送到OMS-一件代发出库单中,不进入平台订单,可以按订单来源筛查

7.常见问题

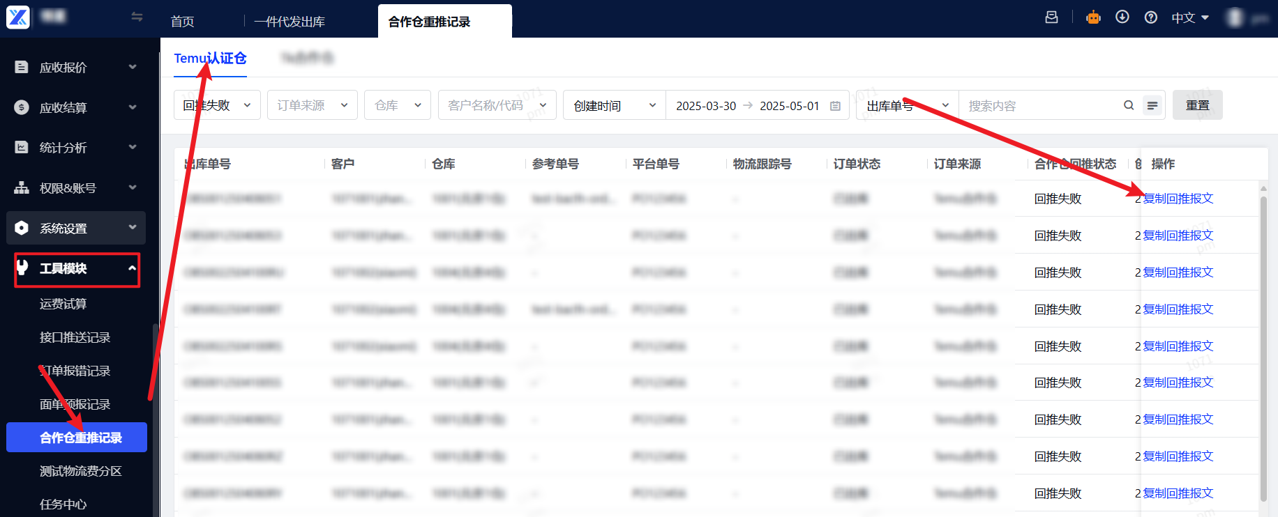
Q1:合作仓订单已经发货,TEMU上没同步到已发货的状态如何处理?答案:可以在OMP-工具模块-合作仓重推记录-复制回推失败报文查看失败原因。
2025-09-30
2 0